Igeekphone news on August 18, including Apple’s own Vision Pro headset, a pain point of the current mainstream AR/VR headset is that it is not friendly to vision correction users.
These users either wear glasses and do not get a comfortable experience for a long time; Either custom glasses clips (which usually cost extra) are not comfortable enough.

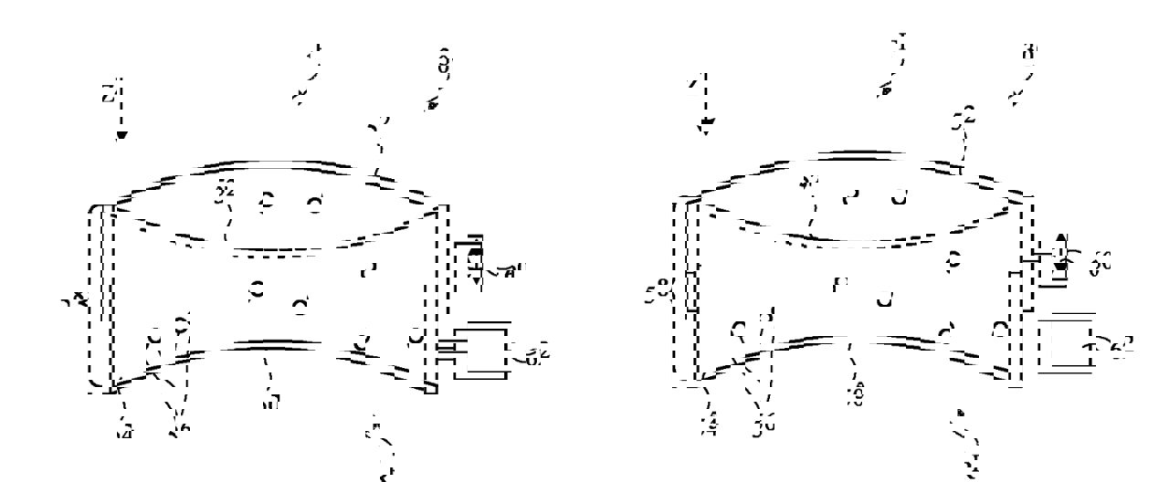
Apple recently filed an application titled “Electronic Device with Liquid Lens,” outlining possible future headset designs.
Igeekphone learned from the patent that the lenses in the headset device employ adjustable liquid lenses, each lens may have a lens chamber filled with liquid, and the lens chamber may have a rigid and/or flexible wall forming the surface of the optical lens.

The actuator, pump, reservoir system can adjust the refractive index by changing the lens surface according to the control circuit signal.
If Apple applies the patent to the future Vision Pro headset, the liquid lens will dynamically adjust the focal length and refractive index according to the wearer’s situation, providing a more comfortable wearing experience.
Apple also describes the future Vision Pro design in the patent: If needed, the headset can be polished into a pair of regular glasses, with left and right mirror legs, nose bridge, lens frame, etc., configured as a glass frame.







