Igeekphone on February 23 news, after Apple launched the Vision Pro headset in the United States on February 2, consumers complained more about it that it does not support multiple accounts and cannot be shared or shared with others.

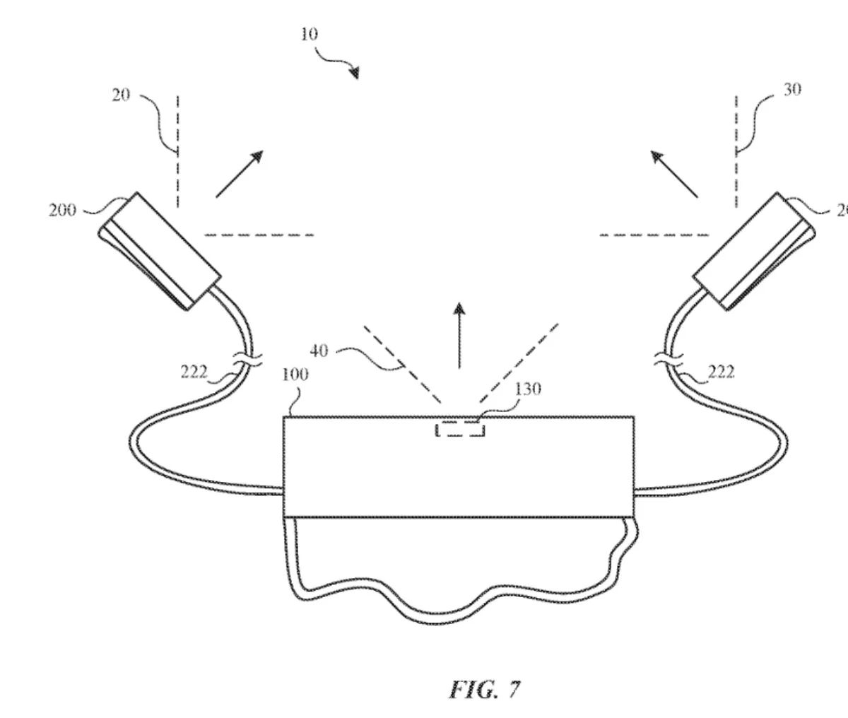
According to a list published by the United States Trademark and Patent Office (USPTO), Apple has been granted a patent called “Optical Components for Shared Experiences”, number US 20240064280 A1, which can project content from the user’s field of view onto devices such as external displays.








